Originaltext der Patentanmeldung DE102015015861
vom 9.12.2015 mit den eingereichten Zeichnungen:
OUVERTÜRE
Die Geschwindigkeit regelnde Einrichtungen für Kraftfahrzeuge sind seit langem verbreitet. Beispielsweise auf dem US-amerikanischen Markt sind Kraftfahrzeug mit Verbrennungsmotor mit einem hydraulischem Automatikgetriebe und einer elektronischen Vorrichtung zur Regelung der Kraftstoffzufuhr üblich. Die Kombination aus hydraulischem Automatikgetriebe und der elektronischen Vorrichtung ist dazu eingerichtet, unabhängig von Störeinflüssen wie wechselnde Steigungen und Gegenwind eine möglichst konstante Fahrgeschwindigkeit einzuhalten. Diese elektronische Vorrichtung wird dem üblichen Sprachgebrauch folgend hier als Tempomat bezeichnet.
Das hydraulische Automatikgetriebe alleine erspart dem Fahrer das Schalten, also den manuellen Wechsel der Gänge. Der Tempomat erspart dem Fahrer die Bedienung des Gaspedals.
Diesem Komfortgewinn stehen erhöhte Herstellungskosten gegenüber. Ausserdem ist der Wirkungsgrad des hydraulische Automatikgetriebe grundsätzlich demjenigen eines manuellen Schaltgetriebes unterlegen. In der Praxis ist der Kraftstoffverbrauch eines Fahrzeugs mit manuellem Schaltgetriebe jedoch stark von den Vorlieben und Fähigkeiten des Fahrers abhängig, und kann erheblich höher ausfallen als derjenige eines gleichartigen Fahrzeugs mit hydraulischem Automatikgetriebe und ggf. Tempomat.
Auch wenn noch Raum für Detailverbesserungen bestehen mag, wird im folgenden die Kombination aus hydraulischem Automatikgetriebe und Tempomat als befriedigende Lösung für die Aufgabenstellung, ein Kraftfahrzeug besonders bequem mit konstanter Fahrgeschwindigkeit zu fahren, angesehen. Diese einleitenden Absätze dienen lediglich der Abgrenzung. Thema dieser Schrift ist die Aufgabenstellung, ein Kraftfahrzeug unter realen Bedingungen besonders Kraftstoff- und Ressoucensparend zu fahren. Diese Aufgabenstellung stellt sich massiv erst seit dem Oktober 1973, und ist entsprechend noch nicht befriedigend gelöst. Ressoucensparend bezieht sich auf die Möglichkeit Ressourcen einzusparen, die bei Kraftfahrzeugen nach dem Stand der Technik ggf. dafür aufgewendet werden, durch Korrosion beschädigte bzw. zerstörte Bremsenkomponenten zu ersetzen. Für das zu Grunde liegende sicherheitstechnische Problem ist bisher nur eine nicht ressoucensparende Lösung bekannt. Diese besteht darin, regelmäßig Wartungen durchzuführen, dabei die Bremsenkomponenten auf Beschädigungen zu prüfen und ggf. auszutauschen.
In der nachfolgenden kurzen Abschweifung soll auf einen möglichen Einwand eingegangen werden, dass eine seit 42 Jahren ungelöste Aufgabenstellung unmöglich relevant sein kann.
Hier soll ausdrücklich Béla Barényi gewürdigt werden, der eine 65 Jahre dauernde Epoche des Automobilbaus beendete, in der Automobile unter anderem darauf optimiert wurden, nach einem schweren Unfall möglichst unbeschädigt an die Erben der getöteten Insassen vererbt zu werden. Die Aufgabenstellung, den Fahrzeuginsassen bei Unfällen eine möglichst hohe Überlebenschance zu geben, stellte sich ab dem Jahr 1886 und der Schrift DE37435. Einen wesentlichen Beitrag zur Lösung dieser Aufgabe leistete Béla Barényi 1951 mit der DE854157, also der Erfindung der Knautschzone. Barényi löste dabei offenkundig nicht nur ein Problem der Insassen, sondern auch ein völlig anders gelagertes Problem der Automobilindustrie. Letzteres bestand in einer sich abzeichnenden Gefahr einer Marktsättigung durch haltbare Automobile.
Die vorliegende Schrift löst lediglich ein Problem des Fahrzeughalters, ist aber nicht dem Umsatz von Automobilindustrie und Werkstätten zuträglich. In diesem Sinne ist es eben doch plausibel, dass diese Aufgabenstellung 42 Jahre lang übergangen wurde, obwohl sie aus gesamtgesellschaftlicher Sicht relevant und lösungswürdig ist.
Typische Verbesserungspotentiale sollen hier detailliert aufgezeigt werden am Beispiel eines Kraftfahrzeugs Typ 9N, produziert im Juni 2008. Unter „Typ 9N“ soll genauer ein Kraftfahrzeug mit Code ABE000411, Herstellercode 0603 im Sinne der deutschen Zulassungssystematik verstanden werden. Der Fahrzeugtyp 9N wird mit den in Europa bzw. weltweit eingetragenen Wortmarken Nr. 1101966 und 0900497 als ein besonders kraftstoffsparendes Fahrzeug beworben. Fahrzeuge dieses Typs weisen ein manuelles Schaltgetriebe auf, weshalb der reale Kraftstoffverbrauch wie eingangs erwähnt stark von den Vorlieben und Fähigkeiten des Fahrers abhängig ist. Dieser Typ weist zahlreiche Vorzüge auf, wie ein erfreuliches Beschleunigungsvermögen, relativ hohe Endgeschwindigkeit, Wendigkeit, gute Eignung für das Einparken auf kurzen Parkplätzen, ansprechendes Äußeres, eine geteilte Rückbank, schöne Lackierungsvarianten etc, und insbesondere einen typischerweise niedrigen Kraftstoffverbrauch.
„Typischerweise niedriger Kraftstoffverbrauch“ meint hier, dass der Kraftstoffverbrauch unter realen Bedingungen beispielsweise meist niedriger ausfällt als der Kraftstoffverbrauch von Fahrzeugen, deren bestimmungsgemäßer Zweck den Herstellerangaben zu Folge darin besteht, bei ihren Fahrern „Freude am Fahren“ zu erzeugen.
Trifft der genannte Typ allerdings auf einen Fahrer, dessen besondere Vorliebe darin besteht, kraftstoffsparend zu fahren, treten überraschende Probleme zu Tage. Wie im Folgenden detailliert beschrieben, zeigt sich, dass die Bedienungsanleitung den Wunsch einer kraftstoffsparenden Fahrweise unzureichend berücksichtigt. Weiterhin berücksichtigt die Auslegung der Bremsanlage den Wunsch einer kraftstoffsparenden Fahrweise unzureichend. Überraschend ist dies, da von den zahlreichen Vorzügen dieses Fahrzeugs der typischerweise niedrige Kraftstoffverbrauch hervorgehoben beworben wird. Durch diese Werbung kann der Kunde zu der Annahme geleitet werden, dass das Fahrzeug dafür ausgelegt ist, kraftstoffsparend gefahren zu werden. Der Kunde kann sogar zu der Annahme verleitet werden, dass es der bestimmungsgemäße Zweck dieses Fahrzeugs ist, kraftstoffsparend gefahren zu werden. Selbst wenn eine kraftstoffsparende Fahrweise von den Konstrukteuren nicht vorgesehen ist und sogar als mißbräuchlich betrachtet werden sollte, so würde es sich hierbei doch dem Anschein nach um einen absehbaren Mißbrauch handeln. Das bedeutet, ein Kunde sollte erwarten können, dass eine kraftstoffsparende Fahrweise auch unter den klimatischen Bedingungen Mitteleuropas nicht zu einer Gefährdung seiner Sicherheit oder zu einer Zerstörung des Produktes führt. Und er sollte erwarten können, dass sich die Bedienungsanleitung dem Thema kraftstoffsparende Fahrweise ausreichend ausführlich widmet.
Zur Überraschung des Autors hat sich jedoch gezeigt, dass eine den entsprechenden (spärlichen) Anweisungen der Bedienungsanleitung folgende, kraftstoffsparende Fahrweise zu Korrosionsschäden (im Folgenden abgekürzt: Korrosion) an der Bremsanlage führen kann. Dabei können Komponenten der Bremsanlage in einer Weise zerstört werden, die nicht durch die Fahrzeugelektronik erkannt und gemeldet wird. Der Fahrer erhält in diesem Fall weder durch die Bedienungsanleitung noch durch die Bordelektronik einen Warnhinweis darauf, dass seine Fahrweise ein sich mit fortschreitender Korrosion verschärfendes Sicherheitsproblem erzeugt. Und er erhält auch keinen Hinweis, wenn die Bremswirkung nennenswert nachlässt. Obwohl eine Vielzahl von Warnleuchten im Fahrzeug dem Fahrer den Eindruck vermitteln, dass vor allen Eventualitäten gewarnt wird, wird dieses Sicherheitsproblem vom Hersteller vernachlässigt. Der Hersteller hat das Problem auf Nachfrage bestätigt. Er hat die Annahme angeführt, dass eine Fahrweise, die zu diesem Problem führt „extrem“ sei.
Heute, über sieben Jahre nach Herstellung des untersuchten Fahrzeugs Typ 9N ist die Situation eine andere. 42 Jahre nachdem sich die Aufgabenstellung erstmals massiv stellte, ein Kraftfahrzeug unter realen Bedingungen besonders kraftstoff- und ressourcensparend zu betreiben, deutet sich immerhin das Ende einer Epoche des Automobilbaus an, in der sich Hersteller weltweit darauf konzentrierten, in einer Betriebssituation auf einem Rollenprüfstand einen besonders niedrigen Kraftstoffverbrauch zu erreichen. Betriebssituationen auf der Strasse wurden dem Anschein nach vernachlässigt. Dabei sollte man sich vor Augen halten, dass jährlich sehr viel weniger Fahrzeugbetriebsstunden auf Rollenprüfständen anfallen als auf der Strasse. Der genannte Strategiewechsel ist ausgesprochen begrüßenswert. Er wird dazu führen, dass durch Automobile zukünftig der irdischen Atmosphäre weniger Schaden zugefügt werden wird als bisher. Mittlerweile werden Fahrzeuge mit einem prädiktivem Assistenzsystem angeboten, das dazu eingerichtet ist, den Fahrer bei einer besonders Kraftstoff sparenden Fahrweise zu unterstützen. Den technischen Hintergrund findet man beispielsweise in nachfolgend aufgezählten Schriften. DE102010048354A1 offenbart ein Fahrerassistenzsystem, das eine Geschwindigkeitsregelung auch in Zusammenhang mit einem Handgetriebe verwirklicht. Wenn nötig, wird eine Meldung an den Fahrer ausgegeben, die ihn zum Runterschalten auffordert.
DE102012025036A1 und DE102014002111A1 offenbaren jeweils ein Fahrerassistenzsystem, das den Fahrer frühzeitig vor einem Ausrollziel wie einem Ortseingang die Empfehlung gibt, vom Gas zu gehen. Dadurch soll das Fahrzeug ausrollen, und durch die Fahrtwiderstände auf die am Ausrollziel geltende Höchstgeschwindigkeit verzögert werden, ohne dass hierfür die Bremsen eingesetzt werden müssen.
DE102014019543A1 offenbart ein Fahrzeug, dass den Fahrer mit Schaltempfehlung etc. versorgt, um ihm zu helfen, unnötige Bremsmanöver zu vermeiden und kraftstoffsparend zu fahren. EP2340976B1 offenbart ein Fahrerassistenzsystem, das ausgehend von einem Fahrerwunsch, beispielsweise möglichst komfortabel, schnell oder kraftstoffsparend zu fahren, Fahrempfehlungen ausgibt.
In allen diesen Schriften werden Bremsvorgänge als ggf. zu vermeidendes Übel betrachtet. Diese Schriften lehren, dass Bremsvorgänge vermieden werden sollen, um Kraftstoff und ggf. Verschleiß der Bremsen zu reduzieren. Eine mögliche Korrosionsproblematik wird nicht berücksichtigt. Die Schriften stellen sich der Aufgabe, den Fahrer bei einer kraftstoffsparenden Fahrweise zu unterstützen, weil vermutet wird, dass kraftstoffsparendes Fahren für den typischen Fahrer schwierig ist. Der Begriff typischer Fahrer meint hier einen Fahrer ohne besondere Begabung oder besondere Schulung.
Andererseits wird angenommen, dass es dem typischen Fahrer leicht fällt, intuitiv, also ohne Unterstützung durch ein Assistenzsystem, eine effiziente Bremsbelagabschleifstrategie zu entwickeln, einen Ausgleich zu finden zwischen den sich widersprechenden Optimierungszielen kraftstoffsparendes Fahren, und Minimierung des Unfallrisikos durch Bremenversagen sowie einen Ausgleich zu finden zwischen den sich widersprechenden Optimierungszielen Verschleiß der Bremsen zu vermeiden und Korrosion der Bremsen zu vermeiden.
Die Anmelderin der oben genannten Schriften hat am 18.11.2015 mit folgenden Worten indirekt bestätigt, dass sie die oben genannten Annahmen trifft:
„[Es ist] technisch nicht möglich, dass unsere Fahrzeuge auf den Bremsen befindlicher Flugrost und andere in der Luft mitgeführte Teilchen erkennen können. Daher ist es weiterhin erforderlich, dass durch von Zeit zu Zeit durchgeführte kräftige Bremsvorgänge die Bremsen von derartigen Verschmutzungen befreit werden.“
Die Untersuchung einer nichtrepräsentativen Fahrerstichprobe hat jedoch ergeben, dass die drei letztgenannten Annahmen häufig nicht erfüllt sind. Tatsächlich sind die drei letztgenannten Aufgaben selbst für Fahrer mit besonderer technischer Begabung und besonderer Schulung mitunter schwierig zu bewältigen.
Die bekannten Fahrerassistenzsysteme sind also für kraftstoffsparendes Fahren geeignet, aber um den Preis ggf. erhöhten Ressourcenverbrauchs in Form erhöhter Austauschhäufigkeit von Bremsenkomponenten. Das gilt zumindest unter den klimatischen Bedingungen Mitteleuropas. In der Salar de Uyuni in Bolivien dürfte sich das Problem zumindest in der Trockenzeit nicht stellen. Die insgesamt erzielte Wirkung eines solchen Fahrerassistenzsystems kann dabei sowohl der Umwelt wie dem Geldbeutel abträglich sein. Dies ist dann zu erwarten, wenn die Spareffekte durch gesenkten Kraftstoffverbrauch geringer ausfallen als die Ressourcenvergeudung durch erhöhte Austauschhäufigkeit von Bremsenkomponenten. Natürlich ist auch der Fall denkbar, dass das Korrosionsproblem gelöst wird durch den Einbau ungewöhnlich hochwertiger Bremsen, beispielsweise auf Basis exotischer Werkstoffe, oder mit einer aufwendigen Kühltechnik unter Einsatz von Kühlflüssigkeit oder dergleichen. In diesem Fall würde der Spareffekt durch gesenkten Kraftstoffverbrauch ggf. überkompensiert durch erhöhte Fertigungskosten für die Bremsen. Dieser Fall soll im folgenden nicht betrachtet werden, denn es wird eine möglichst kostengünstige Lösung angestrebt, auf Basis von üblichen, luftgekühlten Bremsen, insbesondere mit Scheibenbremsen und/ oder Trommelbremsen nach dem Stand der Technik.
Eine überschlägige Recherche in den relevanten IPC-Klassen führt zu der begründeten Annahme, dass dieses Problem nicht nur einen Hersteller oder einen Konzern, sondern alle Hersteller betrifft. In IPC-Klassen, die für Fahrerassistenzsysteme von Bedeutung sind, wie B60K 31/00, B60W 30/14, G01P, B60W40 und B60W50 taucht der Begriff Korrosion praktisch nicht auf.
Andererseits ist Korrosion der Bremsen ein technisch bedeutsames Gebiet, in den IPC-Klassen F16D65/12, F16D65/00, F16D66/00 finden sich zahlreiche Lösungsvorschläge. Aber es findet sich keine Schnittmenge zwischen diesen Themenfeldern.
Aufgabe ist es, eine Bremsanlage anzugeben, die auch unter den klimatischen Bedingungen Mitteleuropas nicht durch eine kraftstoffsparende Fahrweise beschädigt wird.
Eine zweite Aufgabe der vorliegenden Erfindung ist es, ein Kraftfahrzeug zu schaffen, dass unter realen Bedingungen von einem typischen Fahrer besonders kraftstoff- und ressourcensparend betrieben werden kann.
Eine dritte Aufgabe der vorliegenden Erfindung ist es, ein nachrüstbares Fahrerassistenzsystem zu schaffen, dass einen typischen Fahrer unter realen Bedingungen bei einer besonders kraftstoff- und ressourcensparenden Fahrweise unterstützen kann.
EXPOSITION
Gelöst wird die erste Aufgabe durch eine Bremsanlage mit Bremsbelagabschleifvorrichtung nach Anspruch 1.
Gelöst wird die zweite Aufgabe durch ein Fahrzeug mit einem Fahrerassistenzsystem und einer Bremsanlage mit Bremsbelagabschleifvorrichtung nach Anspruch 5.
Gelöst wird die dritte Aufgabe durch ein Fahrerassistenzsystem nach Anspruch 8.
Um die Herstellungskosten niedrig zu halten, soll auf zusätzliche, nur für diese Korrosionsthematik nützliche Sensoren verzichtet werden. Das schliesst eine direkte, visuelle Überprüfung der Bremsenoberfläche aus. Stattdessen wird vorgeschlagen, die Daten von Sensoren zu verwenden, die bereits für andere Zwecke vorgesehen sind. Mit deren Hilfe soll indirekt auf den Zustand der Bremsen geschlossen werden.
Als Datenquelle in Frage kommen insbesondere: die Sensoren für die Drehraten der Räder, sofern diese beispielsweise für ein Antiblockiersystem bereits vorgesehen sind. Jeweils ein Sensor für die Stellung des Bremspedals und des Gaspedals sofern diese beispielsweise für ein
Antiblockiersystem oder einen Bremsassistenten bereits vorgesehen sind. Ein Regensensor sofern dieser für eine automatische Wischersteuerung bereits vorgesehen ist. Ein Temperatursensor, ein Drehzahlmesser, Reifendrucksensoren, Sensoren für den Belegungszustand der Sitze, der Lenkradstellung, Echtzeituhr ggf. mit Kalender, GPS, Anhängerkupplung, über ein WAN empfangene meteorologische Daten wie insbesondere die Windrichtung.
Diese Sensordaten werden in einen modellgestützten Beobachter eingespeist, der Hypothesen für den Zustand des Fahrzeugs, und insbesondere den Zustand der Bremsenkomponenten und insbesondere den Zustand der Oberflächen der Bremsscheiben bzw. Bremstrommeln bzw. der Bremsklötze bildet.
In einer bevorzugten Ausführung wird wie folgt aus Sensordaten auf Fahrzeugzustände bzw. Zustandsgrößen geschlossen:
aus der Stellung des Gaspedals und der Motordrehzahl wird auf den Kraftstofffluss geschlossen. Aus den Drehraten der Räder, und dem Reifendruck wird auf die Fahrzeuggeschwindigkeit geschlossen.
Während eines Beschleunigungsvorgangs in der Ebene bei verhältnismässig niedriger Geschwindigkeit wird aus dem Kraftstofffluss und der Änderungsrate der Fahrzeuggeschwindigkeit auf die Gesamtmasse geschlossen
Während eines Beschleunigungsvorgangs in der Ebene bei verhältnismässig hoher Geschwindigkeit wird aus dem Kraftstofffluss und der Änderungsrate der Fahrzeuggeschwindigkeit und der Gesamtmasse auf den Luftwiderstand geschlossen.
Sinngemässe Abhängigkeiten werden auch bei einer Fahrt mit konstanter Geschwindigkeit ausgewertet.
Während einer Fahrt auf ansteigendem bzw. abfallenden Terrain werden aus GPS-Daten Hypothesen für die Zunahme bzw. Abnahme der potentiellen Energie des Fahrzeugs gebildet, und hiermit die durch den Einfluss der Steigung entstehende Störgrösse kompensiert.
Während einer Fahrt gegen den Wind bzw. mit dem Wind werden aus meteorologischen Daten Hypothesen für die Zunahme bzw. Abnahme der relativen Luftgeschwindigkeit gebildet und damit die durch den Einfluss des Windes entstehende Störgrösse kompensiert.
Die bis hierhin erfolgte Darstellung vereinfachter Spezialfälle dient allein der besseren Nachvollziehbarkeit. Insbesondere sollte diese Darstellung zeigen, dass die Zustandsgrößen der Fahrzeugmasse und des Luftwiderstandes voneinander zu trennen sind. Ohne hier einen formalen Beweis für die Beobachtbarkeit der interessierenden Zustandsgrößen zu führen, soll so veranschaulicht werden, dass das technische Problem häufig gelöst werden kann, ohne dass ein einziger zusätzlicher Sensor nötig würde. Dem Fachmann ist klar, dass man natürlich einen zusätzlichen oder wenige zusätzliche Sensoren vorsehen kann, um qualitative Verbesserungen zu erreichen. Dass ändert aber am Gedanken der Erfindung nichts.
Der Beobachter wird tatsächlich natürlich nicht nur in den genannten Spezialfällen, sondern möglichst lückenlos mit allen verfügbaren Sensordaten gespeist.
Der Beobachter modelliert den Effekt, dass die Fahrzeugmasse durch den Stoffwechsel der Insassen kontinuierlich mit niedriger Rate abnimmt. Er modelliert weiterhin den Effekt, dass die Fahrzeugmasse durch den Kraftstoffverbrauch unstetig abnimmt, wobei die Abnahmerate gut bestimmt werden kann aus Sensordaten wie z.B. der Gaspedalstellung. Abgesehen davon sind Fahrzeugmasse und Luftwiderstands oberhalb einer Schrittgeschwindigkeit typischerweise im wesentlichen konstant. Wenn es hier zu realen Änderungen kommt, sind diese typischerweise abrupt, und Anzeichen einer Gefahrensituation, vor der gesondert gewarnt werden soll. Ein mögliches Beispiel hierfür wäre das Abfallen eines Fahrrades von einem aussen am Fahrzeug montiertem Träger.
Ohne weitere Massnahmen würden bei einem linearen Beobachter transiente Störgrössen wie beispielsweise Böen ein stetiges Hin- und herdriften der Zustandsgrößen der Fahrzeugmasse und des Luftwiderstandes bewirken. Das wäre nicht nur unplausibel, sondern auch für nachfolgende Auswertungen störend. Zur Unterdrückung derartiger Schwankungen wird ein multilevel Hinkleydetektor vorgesehen. Dieses nichtlineare Element bewirkt, dass sich die Zustandsgrößen der Fahrzeugmasse und des Luftwiderstandes nur relativ selten, dann aber sprungförmig ändern. Der Hinkleydetektor sorgt also für eine zweckmäßige Entzappelung der Zustandsgrößen. An den Hinkleydetektor ist zusätzlich ein Klassifikator angeschlossen, der ab einer definierten Sprunghöhe eine Warnung an den Fahrer ausgibt. Dem Fachmann ist natürlich klar, dass es ähnlich wirkende Alternativen zum Hinkleydetektor gibt. Der Hinkleydetektor wird hier beispielhaft genannt, da er gut erforscht ist.
Während eines Bremsvorgangs wird aus der Gesamtmasse und der Änderungsrate der Fahrzeuggeschwindigkeit auf die tatsächlich Bremswirkung geschlossen. Aus der Stellung des Bremspedals einerseits, und der tatsächlichen Bremswirkung andererseits wird auf die relative Wirksamkeit der Bremsen geschlossen. Hier wird die Stellung des Bremspedals nur zur Veranschaulichung angeführt. Tatsächlich gemeint ist eine Sollvorgabe für die Bremse, die sich aus der Stellung des Bremspedals und ggf. Modifikationen durch ein Antiblockiersystem oder einen Bremsassistenten ergibt.
Da die so ermittelten Werte für die relative Wirksamkeit der Bremsen nur bei Bremsvorgängen erhoben werden können, sind sie vergleichsweise selten und wertvoll. Diese Werte werden deshalb mit einem Zeitstempel in einem nichtflüchtigen Speicher über mehrere Fahrten hinweg protokolliert. Sobald die Werte für die relative Wirksamkeit erheblich nachlassen, also eine definierte Schwelle unterschreiten, oder fluktuieren, also über der Zeit verstärkt zu streuen, oder sonstige Auffälligkeiten aufweisen, wird ein Bremsbelagabschleifvorgang ausgelöst.
Die solchermassen durchgeführte Erhebung der relativen Wirksamkeit der Bremsen ist zweckmässig und vergleichsweise kostengünstig, aber sie kann offenkundig das technische Problem nicht vollständig lösen.
Naturgemäß bezieht sich der aktuellste erhobene Wert für die relative Wirksamkeit immer auf die Vergangenheit, nämlich auf den zuletzt durchgeführten Bremsvorgang. Da unter bestimmungsgemässen Bedingungen sehr selten gebremst werden soll, kann dieser Wert also erheblich veraltet sein, bevor er durch erneutes Bremsen aktualisiert wird.
Aus diesem Grunde wird der Erhebung der Wirksamkeit eine Prädiktion der Wirksamkeit zur Seite gestellt.
Für die Prädiktion kann im einfachsten Fall die Zeit seit dem letzten Bremsvorgang hochgezählt werden, und beim Überschreiten einer definierten Schwelle ein Bremsbelagabschleifvorgang ausgelöst werden. Dieses Vorgehen verschenkt jedoch die für eine genauere Schätzung verfügbaren Daten.
In einer bevorzugten Ausführung wird die Prädiktion in den oben angeführten modellgestützten Beobachter integriert. Dazu werden die Bremsbeläge zweckmässig beschreibende Zustandsgrössen, wie beispielsweise Dicke und Dichte einer Schmutzschicht, Dicke einer Oxidschicht, Feuchtigkeit etc. und jeweils auch die relative Wirksamkeit der Bremse modelliert. Die zeitliche Änderung dieser Zustandsgrössen wird abhängig von der Fahrtgeschwindigkeit, geografischen Daten und meteorologischen Daten und insbesondere des Kalendariums modelliert. So wird beispielsweise in Nordeuropa die Erkenntnis genutzt, dass der Herbst Laubfall und daraus resultierende Verschmutzung mit sich bringt, dass der Winter Schneefall, Streusalz und daraus resultierende Verschmutzung mit sich bringt. Weiterhin wird die Erkenntnis genutzt, dass die Feuchtigkeit der Bremsbeläge vom Regen abhängt und dass bei genauerer Betrachtung das Vordringen von Wasser zu den Bremsbelägen von Fahrtgeschwindigkeit, Windgeschwindigkeit und -richtung abhängt. Weiterhin wird die Erkenntnis genutzt, dass Korrosion der Bremsbeläge von ihrer Feuchtigkeit abhängt. Ergibt sich aus GPS-Daten dass sich das Fahrzeug in der Salar de Uyuni befindet, und ergibt sich aus einem Kalendarium, dass dort gerade Trockenzeit herrscht, kann auch ohne einen eingebauten Regensensor gefolgert werden, dass keine Korrosion zu erwarten sind. Gegebenenfalls kann dort während der gesamten Trockenzeit auf Bremsbelagabschleifvorgänge verzichtet werden. Dem Fachmann ist klar, dass er hier praktisch beliebige viele Abhängigkeiten modellieren kann, um die Ergebnisse zu optimieren, ohne dass die Stückkosten nennenswert beeinflusst würden. Die Grenzkosten für zusätzlichen Programmspeicher, Arbeitsspeicher und Prozessorleistung sind beim gegenwärtigen Stand der Technik für diese Anwendung zu vernachlässigen. Das ergibt sich unter anderem daraus, dass sich die Zustandsgrößen nur sehr langsam ändern. Eine sekündliche Aktualisierung der Zustandsgrößen kann mehr als ausreichend sein. Damit sind lediglich Fixkosten zu betrachten, die für die Softwareentwicklung aufzuwenden sind. Dazu gehören beispielsweise Kosten für die Modellierung der Abhängigkeiten, für die Kodierung und den Test. Diese Kosten können proportional sein zur Anzahl der modellierten Abhängigkeiten, insbesondere der Testaufwand kann jedoch auch überproportional ansteigen. Damit sollte geklärt sein, dass der Beobachter den exakten Zustand der Bremsen nicht ermitteln kann, er kann lediglich eine zweckmässige Schätzung abgeben. Das reicht aber auch aus, um einen wesentlichen Fortschritt gegenüber dem Stand der Technik zu erzielen.
Sobald eine einer Bremse zugeordnete Zustandsgrösse einen kritischen Wert erreicht, insbesondere wenn die der relativen Wirksamkeit einer Bremse zugeordnete Zustandsgrösse einen definierten Schwellwert unterschreitet, wird ein Bremsbelagabschleifvorgang ausgelöst. In einer bevorzugten Ausführung wird jede Bremse einzeln modelliert und überwacht. Das macht auch dann Sinn, wenn nicht jede Bremse einzeln aktivierbar ist, sondern beispielsweise paarweise jeweils 2 Bremsen gemeinsam aktivierbar sind. Auf diese Weise wird nicht erst reagiert, wenn ein Zustand der den Mittelwert über zwei Bremsen repräsentiert, einen kritischen Zustand erreicht, sondern bereits dann, wenn eine Bremse für sich einen kritischen Zustand erreicht. Der Fall kann leicht eintreten, wenn es bei Seitenwind regnet, und die Bremsen auf einer Fahrzeugseite feuchter werden als auf der anderen Seite. Eine Unterscheidung der beiden Bremsen eines Paares ist erst recht angezeigt, wenn diese sich konstruktiv unterscheiden (wenn beispielsweise jeweils eine Trommel- mit einer Scheibenbremse kombiniert sind.)
Auslösung eines Bremsbelagabschleifvorgangs meint in einer bevorzugten Ausführung den Start eines automatisierten Ablaufs. Das bedeutet, dass das Assistenzsystem ohne Fahrereingriff mindestens eine Bremse aktiviert. Um eine unangenehme, und ggf. für den Fahrer verwirrende Verzögerung des Fahrzeugs zu vermeiden, wird soweit konstruktiv möglich, gleichzeitig die Drosselklappe geöffnet, also gewissermaßen Gas gegeben. Dadurch behält das Fahrzeug seine Geschwindigkeit bei. Über Komfortargumente hinaus hat eine konstante Geschwindigkeit während des Vorgangs auch einen entscheidenen technischen Effekt. Der zeitliche Verlauf der Bremsleistung kann in diesem Fall konstant gehalten oder gezielt variiert werden, um eine möglichst günstige Bremsbelagabschleifstrategie zu verfolgen. Beispielsweise kann der Anpressdruck der Bremsbacken, -klötze oder dergleichen, und damit die Bremsleistung stetig gesteigert werden. Der Zusammenhang wird später genauer erklärt in einem Ausführungsbeispiel ohne kompensierende Öffnung der Drosselklappe.
Aufbauend auf der Erkenntnis, dass die Bremsen typischerweise ein weit stärkeres negatives Drehmoment liefern, als der Motor an positivem Drehmoment zur Kompensation in Reserve hat, werden bevorzugt nicht alle Bremsen gleichzeitig aktiviert. Wenn nicht jede Bremse einzeln aktivierbar ist, sondern paarweise jeweils 2 Bremsen gemeinsam aktivierbar sind, dann wird jeweils 1 Paar zur Zeit aktiviert. Die paarweise Aktivierung vermeidet eine Drehbeschleunigung um die Hochachse. Das bedeutet, die Bremsen können ggf. über einen Zeitraum von mehreren Sekunden aktiviert bleiben, ohne dass das Fahrzeug in eine Kurve geht oder ausbricht. Falls der Motor nicht ausreichend Drehmoment zur Kompensation in Reserve hat, kann das zu schleifende Bremsenpaar intermittierend aktiviert werden, mit dem Ziel, dass der Bremsbelag sektorenweise behandelt wird. Die Bremsen können beispielsweise quasi-synchron zur Drehzahl der Räder angesteuert werden. Dadurch wird über einen längeren Zeitraum immer wieder der selbe Sektor beansprucht und erhitzt. Aus Sicht des behandelten Sektors ergibt sich dadurch eine maximale Wärmeentwicklung und Schleifwirkung. Wenn beispielsweise der Belag der Bremstrommel bzw. der Bremsscheibe in Sektoren à 30° behandelt wird, dann muss der Motor nur den 12. Teil des andernfalls zur Kompensation notwendigen Drehmoments aufbringen. Der zu behandelnde Sektor kann langsam um das Rad rotieren. Um Verspannungen der Bremstrommel bzw. der Bremsscheibe zu vermeiden ist es jedoch günstiger, abwechselnd gegenüber liegende Sektoren zu behandeln.
Offenkundig führt diese Bremsbelagabschleifstrategie zu einem für die Insassen fühlbaren Geruckel. Derartiges Geruckel ist jedoch bereits vom Antiblockiersystem bekannt und wird von den Insassen akzeptiert.
Wenn jede Bremse einzeln aktivierbar ist, kann alternativ folgende, im Ergebnis ggf. günstigere Bremsbelagabschleifstrategie verfolgt werden:
Jeweils zwei diagonal gegenüber liegende Bremsen werden als Paar betrachtet, und im gleichen ggf. mehrere Sekunden dauernden Zeitraum behandelt. Wie zuvor beschrieben, werden die Bremsscheiben jeweils in Sektoren von beispielsweise 30° behandelt, aber die Bremsaktivierung erfolgt nicht gleichzeitig, sondern jeweils abwechselnd links/rechts. Dadurch wird die Ruckelfrequenz verdoppelt, und die Ruckelamplitude halbiert, was für die Insassen ggf. komfortabler ist. Wenn die Frequenz hoch genug ist, kann die resultierende Schwingung um die Hochachse ggf. vernachlässigt werden.
Offensichtlich sind diese während der Fahrt umsetzbaren Bremsbelagabschleifstrategien technisch schwierig, und nicht unbedingt bei jeder Geschwindigkeit technisch umsetzbar. Insbesondere bei Höchstgeschwindigkeit steht keine Leistungsreserve im Motor zur Verfügung, die zur Kompensation der Bremswirkung nötig wäre. Eine sektorenweise Bremsbelagabschleifstrategie wird zudem begrenzt durch die maximale Aktivierungsfrequenz der Bremsen. Beträgt diese 10 Hz und der Radumfang zwei Meter, dann funktioniert dieser Ansatz bis zu einer Drehzahl von 10 Radumdrehungen pro Sekunde, also einer Fahrzeuggeschwindigkeit von 20 m/s bzw. 72 Km/h. Deshalb ist vorgesehen, die Auslösung eines Bremsbelagabschleifvorgangs ggf. zu verzögern, bis das Fahrzeug einen Betriebszustand erreicht, in dem die Strategie umsetzbar ist. Nur in dem unwahrscheinlichen Fall, dass eine maximal zulässige Verzögerungszeit von beispielsweise 30 Minuten verstreicht, ohne dass das Fahrzeug aus fahrtechnischen Gründen auf eine passsende Fahrzeuggeschwindigkeit von beispielsweise 72 Km/h verzögert würde, wäre der Fahrer zu warnen und zu einer Änderung des Betriebszustand, also insbesondere zum Ausrollen lassen aufzufordern.
An Stelle eines automatisierten Ablaufs kann die Auslösung eines Bremsbelagabschleifvorgangs einen Hinweis an den Fahrer bedeuten, „einen kräftigen Bremsvorgang durchzuführen“. Das macht nur dann wirklich Sinn, wenn das Assistenzsystem keinen Zugriff auf die Bremsen hat, weil aus Kostengründe kein Antiblockiersystem oder dergleichen realisiert ist. Die Verzögerung des Fahrzeugs ist unkonfortabel, und kann nicht durch erhöhte Motorleistung kompensiert werden, ohne ein Sicherheitsrisiko zu erzeugen. Denn die Annahme, dass ein Tritt auf das Bremspedal unmittelbar nach einem entsprechenden Hinweis einem Bremsbelagabschleifvorgang dient und kompensiert werden soll, wäre sehr riskant. Er könnte ja auch Reaktion auf eine akute Gefahrensituation sein.
Die Verzögerung des Fahrzeugs hat den technischen Effekt, dass bei einer konstanten Verzögerung, die Bremsleistung nicht konstant ist. Diese Leistung, also die Rate, mit der dem Fahrzeug mechanische Energie entzogen wird, ist proportional zur Momentangeschwindigkeit. Bei einer konstanten Verzögerung mit einer Rate von 1 m/s2 eines Fahrzeugs mit einer Masse von 1000 Kg wirkt eine konstante Bremskraft mit dem Betrag 1000 Kg*m/s2 bzw. 1000N. Bei einer Geschwindigkeit von 108 Km/h bzw. 30 m/s beträgt die Bremsleistung 30 Kilowatt. Bei 36 Km/h bzw. 10 m/s beträgt sie nur noch 10 Kilowatt. In dieser Ausführung wird der zeitliche Verlauf der Bremsleistung also durch physikalische Zusammenhänge weitgehend definiert, und kann nicht frei gewählt werden, um eine möglichst günstige Bremsbelagabschleifstrategie zu verfolgen.
Da der Fahrer nicht unbedingt weiß, was „ein kräftiger Bremsvorgang“ genau ist, sollte das Assistenzsystem während des Bremsbelagabschleifvorgangs die Bremspedalstellung und die aus Drehgeberdaten abgeleitete Verzögerung bewerten, und eine dem Bewertungsergebnis zugeordnete Rückmeldung an den Fahrer ausgeben. Diese könnte beispielsweise wie folgt lauten: „kräftiger“, „noch kräftiger“, „komplett durchdrücken“, „nachlassen“, „fertig“.
Als Verbesserung gegenüber dem Stand der Technik bekommt der Fahrer in dieser Ausführung einen Hinweis auf einen sinnvollen Zeitpunkt für den Bremsbelagabschleifvorgang, und auf eine zweckmässige Stärke der Bremsung.
DURCHFÜHRUNG
Mögliche Ausführungen sollen an Hand von Figuren genauer erläutert werden.
- Figur 1 zeigt eine Bremsbelagabschleifvorichtung.
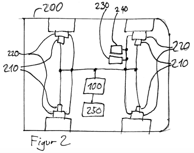
- Figur 2 zeigt ein Fahrzeug mit einer Bremsbelagabschleifvorichtung und einem kraftstoffsparenden Fahrerassistenzsystem.
- Figur 3 zeigt ein nachrüstbares Fahrerassistenzsystem.
Figur 1 zeigt eine Bremsbelagabschleifvorichtung 100 mit einem Eingang 10 für Sensordaten, einem nichtflüchtigen Speicher 20 zur Speicherung von Werten für die relative Wirksamkeit der Bremsen nebst zugeordneter Zeitstempelung und zur Speicherung von Konfigurationsdaten die Schwellwerte, einen Ausgang 30 für die Ausgabe von Stellbefehlen für die Drosselklappe und die Bremsen, einen Arbeitsspeicher 40 für die Speicherung der Zustandsgrößen eines modellgestützten Beobachters, einen Programmspeicher 50 für die Speicherung eines Programms 60, mit dem ein modellgestützter Beobachter in Software realisiert ist, und einem Prozessor 70 zur Verarbeitung des im Programmspeicher abgelegten Programms 60. Eingang 10 und Ausgang 30 sind hier als getrennte Funktionsgruppen dargestellt. Tatsächlich können beide Funktionen in einem einzigen Bauteil integriert sein. Dies gilt insbesondere für eine bevorzugte Ausführung, in der Bremsbelagabschleifvorichtung, Sensoren und Aktoren über einen Datenbus, beispielsweise über einen CAN-Bus verbunden sind.
Figur 2 zeigt ein Fahrzeug 200 mit einer Steuereinheit 100’ eines Fahrerassistenzsystems in die eine Bremsbelagabschleiffunktion integriert ist, mit Drehgebern 210, Bremsen 220, Gaspedal 230 und Bremspedal 240 und Multimediaeinheit 250. Nicht gezeigt ist ein Aktor für die Ansteuerung der Drosselklappe, und eine mechanische Veroderung, die die Drosselklappe öffnet, sobald entweder der Aktor aktiviert wird, oder das Gaspedal 230 gedrückt wird.
Das Fahrerassistenzsystem kann eine grosse Vielfalt möglicher Assistenzfunktionen aufweisen. Dabei gibt es Assistenzfunktionen, die die Funktion der Bremsbelagabschleifvorichtung kaum berühren. Als Beispiel hierfür sei ein Einparkassistent genannt. Des weiteren gibt es Assistenzfunktionen, die in einem Zielkonflikt mit der Bremsbelagabschleifvorichtung stehen. Als Beispiel hierfür sei eine Assistenzfunktion gemäß DE102010048354A1 genannt, deren Zweck es ist, Bremsvorgänge zu vermeiden. Es hat sich gezeigt, dass dieser Zielkonflikt nicht die Integration in einem Fahrerassistenzsystem (genauer: in einer Steuereinheit 100’ eines Fahrerassistenzsystems) verhindert. Es ist im Gegenteil gerade besonders günstig, beides in einer Steuereinheit zu integrieren, und den Zielkonflikt innerhalb der Steuereinheit geeignet zu lösen. Deshalb wird dieser Fall hier als bevorzugte Ausführung dargestellt. Mit dem Begriff Kraftstoffsparfunktion wird im folgenden eine Assistenzfunktion in einem Fahrerassistenzsystem bezeichnet, die eine kraftstoffsparende Fahrweise bezweckt.
Bremsbelagabschleiffunktion steht für eine Assistenzfunktion, die in einem Fahrerassistenzsystem eine erfindungsgemäße Bremsbelagabschleifvorichtung ausbildet.
Integration von Bremsbelagabschleiffunktion und Kraftstoffsparfunktion in einer Steuereinheit 100’ bedeutet, dass beide Assistenzfunktionen die Bausteine für Arbeitsspeicher, Programmspeicher und Prozessor teilen. Bis auf Abweichungen im Programm stimmen die Vorrichtung 100 und die Steuereinheit 100’ überein. Deshalb ist das Innere der Steuereinheit 100’ sinngemäß aus Figur 1 zu entnehmen und wird hier nicht gesondert gezeichnet. Die Bremsbelagabschleiffunktion und die Kraftstoffsparfunktion sind hier durch getrennte Tasks realisiert, die quasi gleichzeitig vom Prozessor ausgeführt werden. Das Fahrerassistenzsystem wird durch eine Vielzahl von Tasks realisiert, die jeweils für Einzelfunktionalitäten wie ABS, ESP und so weiter zuständig sind. Der Task der Bremsbelagabschleiffunktion erzeugt in diesem Ausführungsbeispiel nicht die Aktivierungsimpulse für die Bremsen. Er kümmern sich also auch nicht um die Details der sektorenweisen Bremsbelagabschleifstrategie. Um den Bremsbelagabschleifvorgang auszulösen, sendet er ein Signal an einen für die Aktivierung der Bremsen zuständigen Tasks des Fahrerassistenzsystems mit der Aufforderung die notwendige Schleifstrategie umzusetzen. Geeignete Mittel zur asynchronen Kommunikation zwischen den Tasks kennt der Fachmann.
Dem Task der Bremsbelagabschleiffunktion kann eine besonders niedrige Priorität zugeordnet werden. Das bedeutet, dass er ggf. zurückgestellt wird, und seine Aufgaben ggf. mit Verzögerungen abarbeitet, ohne dass hierdurch ein Schaden entstünde. Bei einem Task mit hoher Priorität hätte ein Fachmann immer genau zu prüfen, ob dieser überhaupt in eine Steuereinheit 100’ hinzugefügt werden kann, ohne beispielsweise Reaktionszeiten der Steuereinheit unzulässig zu verlängern. Da in diesem Fall jedoch eine niedrige Priorität ausreicht, kann der Task der Bremsbelagabschleiffunktion grundsätzlich problemlos hinzugefügt werden.
Insgesamt erkennt der Fachmann, dass die Stückkosten eines Fahrerassistenzsystems nicht wesentlich dadurch steigen, dass eine Bremsbelagabschleiffunktion integriert wird. Einzelne Bauteile müssen möglicherweise „eine Nummer grösser“ gewählt werden. Aber es werden keine zusätzlichen Bauteile benötigt. Typischerweise sind Arbeitsspeicher, Programmspeicher und Prozessor in einem Gehäuse, in einem Halbleiterbauelement integriert. Auch dann gilt, dass das Bauelement möglicherweise „eine Nummer grösser“ gewählt werden muss, um die Bremsbelagabschleiffunktion integrieren zu können.
Hier wird wiederum deutlich: die zusätzlichen Stückkosten sind zu vernachlässigen, aber die Fixkosten in Form von Entwicklungskosten nicht. Bezüglich der Kraftstoffsparfunktion muss hier nicht weiter ins Detail gegangen werden. Die eingangs aufgeführten Schriften offenbaren allesamt Fahrerassistenzsysteme, die geeignet sind, eine kraftstoffsparende Fahrweise zu unterstützen . Grundsätzlich können alle diese Fahrerassistenzsysteme mit einer erfindungsgemäßen Bremsbelagabschleifvorrichtung kombiniert werden. Die Lehre der DE102010048354A1 führt jedoch zu einer bevorzugten Ausführung, da hier mit einem Handgetriebe ein besonders preiswert herstellbares Fahrzeug ermöglicht wird. Dabei ist mitzulesen die in der DE102010048354A1 nicht ausdrücklich erwähnte Ausgabe einer Meldung an den Fahrer, die ihn zum Raufschalten auffordert, sobald dies für eine kraftstoffsparende Fahrweise notwendig ist.
Figur 3 zeigt einen nachrüstbaren Bremsbelagabschleifassistenten 400. Dieser weist ein geschlossenes Gehäuse 410 auf, und ähnlich wie in Figur 1 gezeigt einen Arbeitsspeicher 40, einen nichtflüchtigen Speicher 20, einen Programmspeicher 50 für die Speicherung eines Programms 60, und einen Prozessor 70 zur Verarbeitung des im Programmspeicher abgelegten Programms 60. Zudem weist er auf eine autarke, auf einem Akkumulator basierende, Energieversorgung 420, einen 3-Achsigen Beschleunigungssensor 430, einen Drehratensensor 435, einen Kompass 440, eine Kamera 445, ein Mikrofon 450, einen Lautsprecher 460, eine Nahbereichfunkschnittstelle 470, einen GPS-Empfänger 480, einen Mobilfunkschnittstelle 490 und einen Bildschirm 495. Der Assistent 400 ist mit einem eigenen Satz Sensoren ausgestattet, um unabhängig von den im Fahrzeug eingebauten Sensoren arbeiten zu können. Dadurch entsteht kein Aufwand für die physische und logische Verbindung des Assistenten 400 mit dem Fahrzeug. Eine nachträgliche Verbindung mit den Sensoren und Aktoren wäre unter Gesichtspunkten von Kosten und Sicherheit schwierig. Zur Abfrage eines Sensors per CAN-Bus müsste beispielsweise die Adresse des Sensors bekannt sein.
Der Assistent 400 ist so klein dass ihn der Benutzer ohne Belästigung immer, auch ausserhalb seines Fahrzeugs in einer Hosentasche mit sich führen kann. Dadurch kann der Benutzer den Assistent gewohnheitsmässig dabei haben, wenn er als Fahrer in ein Fahrzeug einsteigt.
In einem ersten Modus fragt der Assistent 400 mit geringer zeitlicher Auflösung Sensordaten ab. Beispielsweise können alle 5 Minuten die GPS Koordinaten abgefragt werden. Über die Mobilfunkschnittstelle 490 werden beispielsweise alle 30 Minuten meteorologische Daten abgefragt. Aus diesen Daten wird ein modellgestützter Beobachter gespeist, der beispielsweise
die Geschwindigkeit ermittelt, und sehr grob schätzt, ob eine gleichmässige Fahrt stattfindet, oder eine ungleichmässige Fahrt, die a priori mit zahlreichen Bremsvorgängen einher geht. An Hand der meteorologischen Daten wird grob die Schädigung der Bremsen durch die Witterung abgeschätzt. Dabei ist der Prozessor 70 dazu eingerichtet, die Berechnung zügig, innerhalb weniger Sekunden oder Sekundenbruchteilen durchzuführen, und danach wieder in einen Stromsparmodus zurückzukehren. Es sei denn, die Berechnung ergibt die Notwendigkeit eines Bremsbelagabschleifvorgangs. In diesem Fall werden weitere Sensoren, wie das Mikrofon 450 und der Beschleunigungungssensor 430 aktiviert. Aus einem vom Mikrofon 450 aufgenommenen Audiosignal wird die Geräuschkulisse im Innenraum ermittelt. Dabei wird aus periodischen Signalanteilen auf die Drehzahl des Motors geschlossen. Weiterhin werden Sprechgeräusche und Windgeräusche und dergleichen erhoben. Aus dem Vorhandensein von Sprechgeräuschen wird geschlossen, dass ein Hinweis störend wäre, und dieser ggf. um einige Minuten zurückzustellen ist. Aus einem hohen Niveau von Windgeräuschen wird geschlossen, dass ein Hinweis ggf. besonders laut erfolgen muss. Aus dem Vorhandensein von Beschleunigungsanteilen, die zusätzlich zur Erdbeschleunigung auf den Beschleunigungungssensor 430 einwirken, und die ggf. im zeitlichen Verlauf schwanken wird auf eine unruhige Fahrsituation geschlossen. Auch in diesem Fall wird gefolgert, dass ein Hinweis störend wäre, und dieser ggf. um einige Minuten zurückzustellen ist.
Über die Nahbereichfunkschnittstelle 470 wird ggf. eine im Fahrzeug installierte Musikanlage kontaktiert, und zum Absenken des Lautstärkepegels der Musik aufgefordert. Danach wird ein beispielsweise sprachlicher Hinweis an die Musikanlage gesendet, und von dieser über Lautsprecher wiedergegeben. Die Verbindung zu einer Musikanlage mit einer Nahbereichfunkschnittstelle, beispielsweise über Bluetooth ist üblich und auch im Kraftfahrzeug kaum als Sicherheitsrisiko anzusehen. Steht eine Musikanlage bzw. die Verbindung hiermit nicht zur Verfügung, dann gibt der Assistent 400 den sprachlichen Hinweis über den eingebauten Lautsprecher 460 und / oder den Bildschirm 495 aus.
Das Mikrofon 450 und der Beschleunigungungssensor 430 bleiben auch nach Ausgabe des Hinweises aktiviert. Der modellgestützte Beobachter ermittelt an Hand ihrer Daten, ob und wie stark der Fahrer bremst, und schätzt den Effekt auf die Bremsbeläge ab. Danach werden Daten zu diesem Ereignis wie z.B. Zeitstempel in dem nichtflüchtigen Speicher 20 gespeichert, die Sensoren deaktiviert, und der Prozessor wieder in den Stromsparmodus versetzt. Der besondere Vorteil dieses ersten Modus besteht darin, dass er keine Benutzereingaben und keine Aufmerksamkeit erfordert, und dass er sehr stromsparend ist, was die mögliche Betriebsdauer des Assistent 400 verlängert.
Der Assistent ist dazu eingerichtet, durch eine Benutzereingabe in einen zweiten Modus versetzt zu werden. Der Assistent wird in diesen Modus vorzugsweise starr im Verhältnis zum Fahrzeug fixiert. Im zweiten Modus fragt der Assistent 400 mit hoher zeitlicher Auflösung, beispielsweise sekündlich Sensordaten ab, und zwar insbesondere auch von dem Beschleunigungungssensor 430 und dem Drehratensensor 435. Aus diesen Daten wird ein modellgestützter Beobachter gespeist, der relativ genau die Fahrzeugzustände ermittelt.
Aus den Sensordaten vom Beschleunigungungssensor 430 und vom Drehratensensor 435 wird zunächst die Position des Assistenten relativ zum Fahrzeug ermittelt, und darauf aufbauend die Beschleunigungen und Verzögerungen des Fahrzeugs bestimmt. Aus den Sensordaten vom GPS- Empfänger 480 wird auf die zurückgelegte Strecke und die Fahrzeuggeschwindigkeit geschlossen.
Aus einem vom Mikrofon 450 aufgenommenen Audiosignal wird auf die Drehzahl des Motors geschlossen, und unter Einbeziehung der Fahrzeuggeschwindigkeit auf den gewählten Gang. Da keine direkten Daten zum Kraftstoffeinsatz vorliegen, ist vorgesehen, dass der Fahrer bei jedem Tankvorgang den Kassenbon mit der Kamera 445 fotografiert. Mit einer OCR werden die getankten Kraftstoffmengen erfasst, und heraus auf den spezifischen Verbrauch geschlossen.
Wie bereits beschrieben bildet der modellgestützte Beobachter auch den Bremsen zugeordnete Zustandsgrößen. Beim Überschreiten einer definierten Schwelle wird wie im ersten Modus ein beispielsweise sprachlicher Hinweis ausgegeben, die Bremsen zu betätigen.
Der Assistent 400 kann in einer bevorzugten Ausführung unabhängig vom Fahrzeugtyp eingesetzt werden, und passt sich automatisch an, indem er beispielsweise Fahrzeugmasse und Luftwiderstand selbsttätig ermittelt.
REPRISE
Aus Gründen der Vereinfachung wurde im Vorstehenden die Bremsbelagabschleifvorrichtung im Zusammenhang mit direkt ansteuerbaren Bremsaktoren diskutiert. Für derartige Aktoren, die auf ein Aktivierungssignal hin beispielsweise eine Bremsbacke elektromotorisch oder elektromagnetisch gegen eine Bremsscheibe drücken, ist die vorstehende Beschreibung einfach nachvollziehbar. Tatsächlich kann und soll die erfindungsgemäße Bremsbelagabschleifvorrichtung auch mit hydraulisch angesteuerten Bremsen umgesetzt werden, also mit einer Bremsanlage, bei der mit Betätigung des Bremspedals ein Druck in einer Bremsflüssigkeit aufgebaut wird, der zu einem Fluß von Bremsflüssigkeit in Zylinder führt, die den jeweiligen Bremsen zugeordnet sind. Die Bremsflüssigkeit drückt auf in diesen Zylindern angeordnete Kolben, die hierdurch bewegt werden, und somit beispielsweise Bremsbacken gegen Bremsscheiben drücken. Das bedeutet, eine Bremsung kann zuverlässig ohne direkte Beteiligung elektrisch angetriebener Aktoren durchgeführt werden. Ein übliches Antiblockiersystem weist elektrisch ansteuerbare Ventile auf, die dazu ausgebildet sind, bei Aktivierung in den Fluß der Bremsflüssigkeit zu den einzelnen Bremszylindern einzugreifen, und so den Bremsdruck zu reduzieren und ggf. die Bremse komplett zu lösen.
Es gibt Bremsanlagen, die autonome, also nicht durch Betätigung des Bremspedals ausgelöste, Bremsungen unterstützen. Solche Bremsanlagen weisen beispielsweise einen elektrisch aktivierbaren Aktor auf, der dazu vorgesehen ist, bei Aktivierung Druck in einer Bremsflüssigkeit aufzubauen, und damit die Rolle des Bremspedals zu übernehmen. Im Zusammenhang mit einer solchen Bremsanlage kann die erfindungsgemäße Bremsbelagabschleifvorrichtung besonders einfach umgesetzt werden. Die Beschreibung: „das zu schleifende Bremsenpaar [kann] intermittierend aktiviert werden“ ist dann so zu verstehen, dass Druck in der Bremsflüssigkeit aufgebaut wird, und dass das dem Bremsenpaar zugeordnete Ventil intermittierend angesteuert wird, um den beschriebenen Effekt zu erzielen. Dabei wird ggf. ein weiteres Ventil, das Bremsen zugeordnetet ist, die nicht zu behandeln sind, so angesteuert, dass diese anderen Bremsen gelöst bleiben.
Bei solchen Bremsanlagen ist die im Vorstehenden diskutierte bevorzugte Ausführung umsetzbar, die einen Bremsbelagabschleifvorgang in Form eines automatisierten Ablaufs ermöglicht. Das bedeutet, dass das Assistenzsystem ohne Fahrereingriff den Aktor aktivieren kann, der dazu vorgesehen ist, die Bremsflüssigkeit zu komprimieren. Daraufhin werden die Ventile so angesteuert, dass die Bremsen beispielsweise quasi-synchron zur Drehzahl der Räder angelegt werden.
Wird bei einer hydraulischen Bremsanlage auf einen derartigen Aktor verzichtet, kann der Bremsbelagabschleifvorgang nur mit Zutun des Fahrers durchgeführt werden. Das bedeutet, der Fahrer bekommt wie vorstehend beschrieben zur Auslösung eines Bremsbelagabschleifvorgangs einen entsprechenden Hinweis.
Vorstehend wurde eine sektorenweise Bremsbelagabschleifstrategie vorgeschlagen, bei der Bremsen quasi-synchron zur Drehzahl der Räder angelegt werden. Alternativ kann eine sektorenweise Bremsbelagabschleifstrategie auch vorsehen, einen bestimmten Sektor beispielsweise einer Bremsscheibe oder Bremstrommel nur bei jeder zweiten oder jeder dritten Umdrehung oder einem anderen ganzzahligen Vielfachen einer Radumdrehung zu schleifen. Um eine thermische Belastung von Bremsscheibe oder Bremstrommel zu reduzieren, kann eine sektorenweise Bremsbelagabschleifstrategie auch vorsehen, zwei gegenüberliegende Sektoren beispielsweise einer Bremsscheibe oder Bremstrommel quasi gleichzeitig zu schleifen und dazu die Bremse zweimal pro Radumdrehung, oder alle 1,5 Radumdrehungen oder alle 2,5 Radumdrehungen und so fort zu aktivieren.
Der Fachmann erkennt, dass hier eine Vielzahl nahezu gleichwertiger Lösungsmöglichkeiten vorliegen, deren Einsetzbarkeit bei einer gegebenen Fahrgeschwindigkeit allein davon abhängt, in welcher Zeit und mit welcher Wiederholrate die Bremsen angelegt und wieder gelöst werden können. Bei einer höheren Fahrgeschwindigkeit kann eine Aktivierung alle 1,5 Radumdrehungen günstiger sein, während bei einer niedrigeren Fahrgeschwindigkeit eine Aktivierung alle 0,5 Radumdrehungen, oder sogar eine durchgehende Aktivierung günstiger sein kann.
Zur Steuereinheit 100’, die im Zusammenhang der Figur 3 diskutiert wurde sei angemerkt, dass die Integration von Kraftstoffsparfunktion und Bremsbelagabschleiffunktion in einem Steuergerät einen weiteren, bisher nicht genannten Vorteil hat. Auf diese Weise kann besonders einfach eine Ausgangsgrösse der Bremsbelagabschleiffunktion, die den Korrosionszustand der Bremsen beschreibt, als Eingangsgröße der Kraftstoffsparfunktion zugeführt werden. Dadurch wird erreicht, dass bei einem sich anbahnendem Korrosionsproblem die Kraftstoffsparfunktion in ihrer Wirkung reduziert oder ganz abgeschaltet wird. Bevor es einen Bremsbelagabschleifvorgang auslöst, kann das Fahrerassistenzsystems also temporär eine weniger kraftstoffsparende Fahrweise bewirken, und beispielsweise statt frühzeitig vor Erreichen einer Ortsdurchfahrt eine Ausrollempfehlung an den Fahrer zu geben, diesen kurz vorher zu einer starken Bremsung auffordern. Eine derartige Rückkopplung ist aber auch dann möglich, wenn die genannten Funktionen in gesonderten, jedoch über einen Datenbus verbundenen Steuereinheiten realisiert sind. Dann sind lediglich geeignete, über den Datenbus zu sendende Telegramme zu definieren, die die Ausgangsgrösse der Bremsbelagabschleiffunktion repräsentieren, die den Korrosionszustand der Bremsen beschreibt. Da sich dieser Korrosionszustand nur sehr langsam ändert, handelt es sich hierbei eher um ein organisatorisches als um ein technisches Problem.
Sollen Assistenzfunktionen auf mehrere Steuergeräte aufgeteilt werden, dann wird vorgeschlagen, die Bremsbelagabschleiffunktion und andere den Bremsen logisch zugeordnete Assistenten wie den Assistenten für ein Antiblockiersystem und einen solchen für eine Antischupfregelung in einem Steuergerät zu integrieren. Im Zusammenhang mit einer hydraulischen Bremsanlage kann ein solches Steuergerät auch die Ansteuerelektronik für die Ventile umfassen, die zur Auslösung der Bremsen vorgesehen sind. Eine solche Integration dient nicht allein der Kostenersparnis, sondern ermöglicht eine zeitlich präzisere Ansteuerung dieser Ventile durch das Steuergerät. Steuergerät und ein Satz von beispielsweise vier Ventilen wird in einer bevorzugten Ausführung einstückig, mit einem Gehäuse und einer Schnittstelle für einen Datenbus hergestellt.
Zu dem in Figur 3 gezeigten nachrüstbaren Bremsbelagabschleifassistenten 400 sei noch angemerkt, dass es in einer bevorzugten Ausführung vorgesehen ist, Ressourcen des Assistenten 400 wie Prozessor oder Speicher auch für andere Funktionen zu nutzten, wie beispielsweise zur Navigation, zum Abspielen von Musik oder zum Telefonieren. Dadurch können ggf. ein gesondertes Navigationsgerät etc. eingespart werden, was Ressourcen bei der Herstellung einspart.
Weiterhin sei angemerkt, dass die Erfindung zwar vorstehend im Zusammenhang mit einem Verbrennungsmotor erklärt wurde, und deshalb ein Kraftstofffluss und das Betanken mit Kraftstoff erwähnt wurde, aber der Erfindungsgedanke sich auch auf alternative Antriebe übertragen lässt. Dies gilt insbesondere bei elektrisch betriebenen Fahrzeuge. Da dort im Regelfall unter Rückgewinnung elektrischer Energie verzögert wird, werden die Bremsen dort besonders selten benutzt, und sind besonders anfällig für die beschriebene Problematik. Die Erfindung lässt sich bei elektrisch betriebenen Fahrzeugen sogar besonders gut verwirklichen, da dort der Elektrizitätsverbrauch mit hoher Genauigkeit sensorisch erfasst wird. Es liegen also tendenziell hochwertigere Daten vor als beim Fahrzeug mit Verbrennungsmotor.
CODA
Patentansprüche
- Bremsanlage für ein Kraftfahrzeug mit Drehgebern 210, Bremsen 220, Gaspedal 230, Bremspedal 240 und mit einem Steuergerät 100′, das einen Eingang 10 für Sensordaten, einen nichtflüchtigen Speicher 20, einen Ausgang 30 für die Ausgabe von Stellbefehlen, einen Arbeitsspeicher 40, einen Programmspeicher 50 und einen Prozessor 70 aufweist, dadurch gekennzeichnet, dass in dem Steuergerät 100′ eine Bremsbelagabschleiffunktion realisiert ist, die dazu eingerichtet ist, einer Beschädigung der Bremsen 220 durch eine bedarfsgerechte Auslösung eines Bremsbelagabschleifvorgangs entgegen zu wirken.
- Bremsanlage für ein Kraftfahrzeug nach Anspruch 1, dadurch gekennzeichnet, dass im Steuergerät 100′ mindestens eine weitere Assistenzfunktion wie Einparkassistent, ABS, ESP oder Kraftstoffsparfunktion realisiert ist.
- Bremsanlage für ein Kraftfahrzeug nach Anspruch 1 oder 2, dadurch gekennzeichnet, dass das Steuergerät 100′ dazu eingerichtet ist, einen Bremsbelagabschleifvorgang zu bewirken, bei dem eine Bremse 220 synchron zur Raddrehzahl aktiviert wird, um einen Sektor einer Bremsscheibe oder Bremstrommel über mehrere Radumdrehungen hinweg zu erwärmen.
- Bremsanlage für ein Kraftfahrzeug nach Anspruch 1,2 oder 3, dadurch gekennzeichnet, dass in dem Steuergerät 100′ ein modellgestützter Beobachter realisiert ist, der dazu eingerichtet ist, aus Daten von einem Drehgeber 210 auf eine Beschädigung der Bremsen 220 zu schliessen
- Kraftfahrzeug mit einer Bremsanlage nach einem der Ansprüche 1-4 dadurch gekennzeichnet, dass eine Bremsbelagabschleiffunktion realisiert ist, die dazu eingerichtet ist, einer Beschädigung der Bremsen durch eine bedarfsgerechte Auslösung eines Bremsbelagabschleifvorgangs entgegen zu wirken.
- Nachrüstbares Fahrerassistenzsystem mit einem Gehäuse 410, einem Arbeitsspeicher 40, einem nichtflüchtigen Speicher 20, einem Programmspeicher 50 für die Speicherung eines Programms 60, einen Prozessor 70, eine autarke Energieversorgung 420, einen Beschleunigungssensor 430, ein Mikrofon 450 und einem Bildschirm 495 zur Benutzung in einem Kraftfahrzeug mit Bremsen 220 dadurch gekennzeichnet, dass in dem Fahrerassistenzsystem eine Bremsbelagabschleiffunktion realisiert ist, die dazu eingerichtet ist, einer Beschädigung der Bremsen 220 durch eine bedarfsgerechte Auslösung eines Bremsbelagabschleifvorgangs entgegen zu wirken.
- Nachrüstbares Fahrerassistenzsystem nach Anspruch 6, dadurch gekennzeichnet, dass mindestens eine weitere Assistenzfunktion wie Navigationshilfe oder Kraftstoffsparfunktion realisiert ist.
- Nachrüstbares Fahrerassistenzsystem nach Anspruch 6 oder 7, dadurch gekennzeichnet, dass ein modellgestützter Beobachter vorgesehen ist, der dazu eingerichtet ist, aus Daten vom Beschleunigungssensor 430 auf eine Beschädigung der Bremsen 220 zu schliessen
- Nachrüstbares Fahrerassistenzsystem nach Anspruch 6,7 oder 8, dadurch gekennzeichnet, dass vorgesehen ist, eine Aufforderung einen Bremsbelagabschleifvorgang durchzuführen über einen Lautsprecher 460 und/oder eine Nahbereichfunkschnittstelle 470 und/oder einen Bildschirm 495 an den Fahrer auszugeben.
- Figur 1
- Figur 2
- Figur 3



